Автомобильная виртуальная система

Интересная новость. Неужели и правда решат проблему укачивания?
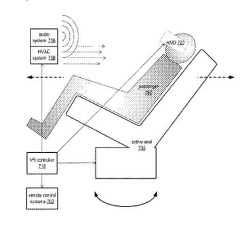
Apple зарегистрировала в Ведомстве США по патентам и товарным знакам патент на автомобильную развлекательную систему в формате виртуальной реальности. Предполагается, что это обеспечит совершенно новый опыт поездок и решит проблему укачивания в автомобиле.
Согласно описанию патента, пассажиры автомобиля от Apple смогут использовать гарнитуру виртуальной реальности, которая будет синхронизироваться с наружными камерами транспортного средства. Дополнительно будут учитываться движение и ускорение машины. В документе указывается, что это поможет людям, которых укачивает в дороге.
Кроме того, технология также подойдёт для просмотра видео и чтения книг в стабилизированной среде, а также для участия в виртуальных встречах прямо в дороге. Другие подробности пока не раскрываются. Хотя нет никакой гарантии, что Apple всё же реализует данную идею.
По имеющейся информации, Apple выпустит свой дебютный автомобиль примерно в 2025 году. Предполагается, что его разработка ведётся с 2014-го. (Отсюда.)
Если люди тратят кучу денег и времени на лекарства от укачивания и другие способы его избежать, это не значит, что проблема надуманная. Вам и вашим знакомым просто повезло.
Плакать не поможет - они бесчувственные...
Хотя, падажди...
Судя по моему опыту (в том числе использования виртуальной реальности) и анализу личных ощущений - укачивает от "рассинхрона" телесных ощущений (вестибулярного аппарата) и видимой картинки.
- Если VR-очки тебе показывают, что ты движешься, а тело чувствует что сидишь на месте - укачивает (причем большинство, многие вообще играть не могут).
- А когда ты пассажир машины то наоборот - тело чувствует ускорения, но глазами ты видишь перед собой статическую картинку салона (т.е. мозг видит что сидишь на месте).
- И еще третий вариант, если ты поворачиваешь голову в VR-очках, а картинка поворачивается c запозданием (слабый комп). Тогда, видимо, мозг воспринимает это как болезнь 😄
Проблема с обратной связью. Поэтому, например, почти никогда не укачивает водителя, но укачивает пассажиров (особенно, сзади).
Вот это "особенно" - думаю, оттого, что глаза видят полностью статическую картинку, и даже вид впереди загорожен сидениями. А тело испытывает внезапные ускорения и мозг такой - откуда ускорения, если судя по картинке ничего не происходит? Не заболел ли я? 😄
Но и эффект картинки и участия тоже работает.
А то получится, как духами вокруг навозной ямы побрызгать.
з.ы. обращайте внимание на смайлики, а то получается глупо: вы серьезно отвечаете на шутливый комментарий.
Прошу понять и простить (небритый смайлик).
Что-то типа "шумоподавления", но для вестибулярного аппарата.
А от "чего угодно" эффект будет "как получится"
На пузырек пузырьком надо воздействовать, 100грамм и нафиг ваши яблоки
Помнится, ездили мы несколько раз с одним человеком (он за рулём) в его Subaru Outback - укачивало всех страшно, даже тех, кто никогда на такое не жаловался (даже на море не укачивало так). Но когда в той же компании за рулём был кто-то другой - ни у кого симптомов укачивания уже не возникало (поэтому его потом в этой машине просто за руль не пускали 😄 ). Но иногда ездили с ним же за рулём на другой машине - и там так же никого не укачивало.
Вот только в комбинации "конкретный автомобиль + конкретный водитель" - всё было плохо.
Дети, когда учились водить, так делали. На шоссе с ними за рулём меня укачивало страшно, потом вроде научились, стало лучше.
Ещё на высоких машинах это чувствуется сильнее. На длинном седане ок, а в караване просто ужас.
